| 【知識】科目二考試項目和操作要求 |
| 發布日期:[08-12-09 20:24:11] 點擊次數:[]
|
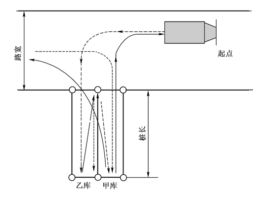
一、樁考駕駛員考試 www.jsyks.com (一)大型客車、城市公交車、中型客車、大型貨車、小型汽車、小型自動擋汽車、低速載貨汽車準駕車型 目的:考核機動車駕駛人操控車輛完成側方移位、倒車入庫和正確判斷車身空間位置的能力。 1、圖形設計
圖例: ○ 樁桿; ── 邊線; 前進線; ┄→倒車線 尺寸: (1)樁長:二倍車長;前驅動車,加50厘米; (2)樁寬:大型客車、城市公交車、大型貨車、中型客車為車寬加70厘米;小型汽車、小型自動擋汽車、低速載貨汽車為車寬加60厘米; (3)路寬:車長的1.5倍; (4)起點:距甲庫外邊線1.5倍車長。 2、操作要求 從起點倒入乙庫停正,再經過二進二退移位到甲庫停正,前進穿過乙庫至路上,倒入甲庫停正,前進返回起點。 (二)牽引車準駕車型 目的:考核機動車駕駛人操控牽引車前進、倒車和正確判斷車輪行駛軌跡以及在有限區域正確停靠車輛的能力。 1、圖形設計
圖例: ○ 樁桿; ── 邊線; 前進線; ┄→倒車線 尺寸: (1)甲、乙庫長為整車長加1米,庫寬為整車寬的1.5倍; (2)甲庫四角設樁桿,乙庫在靠近甲庫的一角設樁桿;甲、乙庫之間相距2倍車長,分設在路中線的兩側。 2、操作要求 從甲庫向前駛入乙庫停正,然后倒入甲庫內停正。 (三)三輪汽車準駕車型 目的:考核機動車駕駛人操控三輪汽車前進、倒車和正確判斷車輪行駛軌跡的能力。 1、圖形設計
圖例: 樁桿; ── 邊線; 前進線; ┄→倒車線 尺寸: 樁間距為車長加40厘米;樁與邊線的距離為車寬加30厘米。 2、操作要求 從起點繞樁前進駛出,再倒車繞樁反向駛回。 (四)普通三輪摩托車、普通二輪摩托車、輕便摩托車準駕車型 目的:考核機動車駕駛人操控三輪摩托車、二輪摩托車、輕便摩托車曲線行駛及轉彎的能力。 1、圖形設計
圖例: 樁位; ── 邊線; 前進線 尺寸: (1)樁與邊線的距離為車寬加30厘米; (2)樁間距:普通和輕便二輪摩托車為車長加50厘米;正三輪摩托車為車長加40厘米;側三輪摩托車為車長加80厘米; (3)終止線距最后一根樁桿3倍車長。 2、操作要求 從起點處起步按箭頭所示方向繞樁行駛至終點處停車。 二、坡道定點停車和起步 目的:考核機動車駕駛人在坡道上駕駛車輛的技能,準確判斷車輛的位置,正確使用制動、擋位和離合器,以適應在上坡路段停車與起步的需要。 1、圖形設計
定點停車樁桿距坡底大于1.5倍車長,全坡長大于30米。 2、操作要求 機動車駕駛人應通過視覺和感覺及時判斷坡道的坡度大小、長短及路寬等道路情況,采取正確的操作方法,控制車輛平穩停車和起步。做到轉向正確,換擋迅速,操縱加速踏板、駐車制動器和離合器踏板的動作準確協調。 三、側方停車 目的:考核機動車駕駛人將車輛正確停入道路右側車位(庫)的技能。 1、圖形設計
圖例: 樁桿; 前進線;┄→倒車線 尺寸: (1)車位(庫)長:大型客車為1.5倍車長減1米,小型車輛為1.5倍車長加1米,其他車輛為1.5倍車長; (2)車位(庫)寬:車寬加80厘米; (3)車道寬:1.5倍車寬加80厘米。 2、操作要求 機動車駕駛人駕駛車輛在不碰、擦庫位樁桿,車輪不軋碰車道邊線、庫位邊線的情況下,通過一進一退的方式,將車輛停入右側車位(庫)中。 四、通過單邊橋 目的:考核機動車駕駛人準確運用轉向、正確判斷車輪直線行駛軌跡、操縱車輛不平行運行的能力。 1、圖形設計
尺寸: (1)橋寬:20厘米; (2)橋高:小于等于車輛最小離地間隙,摩托車橋高為5厘米,小型汽車橋高為8厘米,其他汽車橋高為12厘米; (3)甲乙橋橫向間距:車輛輪距加1米; (4)甲乙橋縱向間距:牽引車掛車為2倍軸距,小型車輛為3倍軸距,其他車輛為2.5倍軸距; (5)橋面長度:1.5倍車輛軸距; (6)坡度:小于等于7%。 2、操作要求 機動車駕駛人按規定的行駛方向,正確操縱轉向,將汽車的左、右側前后車輪依次平穩、順暢地駛過甲、乙兩橋;三輪汽車、三輪摩托車用左、右后輪依次平穩、順暢地駛過甲、乙兩橋。 二輪摩托車、輕便摩托車從橋上平穩、順暢通過。 五、曲線行駛 目的:考核機動車駕駛人操縱轉向、控制車輛曲線行駛的能力。 1、圖形設計
尺寸: (1)路寬:大型車輛為4米,小型車輛為3.5米,摩托車為2.5米; (2)半徑:大型車輛為12米,小型車輛為7.5米,摩托車為5米; (3)弧長:八分之三個圓周。 2、操作要求 機動車駕駛人駕駛車輛從彎道的一端前進駛入,減速換擋,以低擋低速從另一端駛出。行駛中不得軋彎道邊緣線,轉向自如。 六、直角轉彎 目的:考核機動車駕駛人在急彎路段駕駛車輛時,正確操縱轉向、準確判斷車輛內、外輪差的能力。 1、圖形設計
尺寸: (1)路長:大于等于1.5倍車長; (2)路寬:小型車輛為軸距加1米,半掛牽引車為牽引車軸距加3米,其他車輛為軸距加50厘米。 2、操作要求 機動車駕駛人駕駛車輛按規定的線路低速行駛,由左向右或者由右向左直角轉彎,一次通過,中途不得停車。 七、限速通過限寬門 目的:考核機動車駕駛人在一定車速下對車身位置的正確判斷能力。 1、圖形設計
尺寸: (1)路寬:大于等于7米; (2)門寬:車寬加60厘米。 設置: 共設置三個限寬門,三門之間各相距3倍車長,1、3兩門設置于正對位置,2門與1、3門偏移一個門寬位置。 2、操作要求 機動車駕駛人駕駛車輛以不低于20公里/小時的速度,從三門之間穿越,不得碰擦懸桿。 八、通過連續障礙 目的:考核機動車駕駛人駕駛車輛通過連續障礙時,對車輪行駛軌跡和內、外輪差的判斷能力。 1、圖形設計
尺寸: (1)路寬:7米; (2)圓餅直徑:70厘米,B、C、D、E圓餅中心點偏離路中心線1米; (3)餅高:小于車輛最小離地間隙;小型車輛6厘米,其他車輛10厘米; (4)圓餅間距:指相鄰兩塊圓餅中心點投影在路中心線上之間的距離;大型客車、城市公交車、大型貨車所考核的圓餅間距為2倍車輛最前輪軸至最后輪軸距,牽引車圓餅間距為1.5倍軸距(軸距是牽引車前軸至掛車最后軸的軸距),其他汽車圓餅間距為2.5倍的車輛軸距。 圓餅數量:牽引車只設A、B、C三個圓餅,其他車輛設置六個圓餅。 2、操作要求 除小型車輛用一擋外,其他車輛用二擋(含)以上擋位,將車騎于圓餅之上通過,車輪不得碰、擦、軋圓餅,并且不得超、軋兩側路邊緣線。 九、百米加減擋 目的:考核機動車駕駛人操縱車輛擋位的熟練程度。 1、圖形設計
2、操作要求 機動車駕駛人駕駛車輛由起點線起步,在百米內完成從最低擋逐級加至最高擋,再從最高擋逐級減至二擋。 十、起伏路駕駛 目的:考核機動車駕駛人駕駛車輛平順通過起伏路面的能力。 1、圖形設計
尺寸: (1)頂寬、底寬:車輪直徑加60厘米; (2)深度、高度:大型客車、小型車輛為6厘米,其他車輛為12厘米。 設置: (1)凹路面的α角小于車輛離去角,凸路面的β角小于車輛接近角; (2)凹路面的深度和凸路面的高度要小于車輛的最小離地間隙。 2、操作要求 機動車駕駛人駕駛車輛行駛至起伏路面前20米內制動減速,使用低速擋或者半聯動平穩安全地通過起伏路段。
|
|
| |
|
|
學車組團 |
0531-89684386 |
 |
學車熱線 |
13969050545 |
 |
年審咨詢 |
0531-89684386 |
 |
汽車團購 |
0531-88013595 |
 |
|
|
|
|
|